Integrated automation and dispatching of engineering systems

GUARANTEED ELECTRIC POWER SUPPLY SYSTEMS

Get consultation

A guaranteed electric power supply system (GEPSS) is a complex of devices facilitating power supply of the facility in case of failures in the electrical power network.

The main components of this system is an electrical cable network, diesel generator set and automatic load transfer unit.

The guaranteed electric power supply system is a standby one. Contrary to uninterruptible power supply consumers, consumers of the guaranteed electric power supply system are supplied from the main terminal of general power supply system. In case of its failure, a diesel generating set is actuated.

 

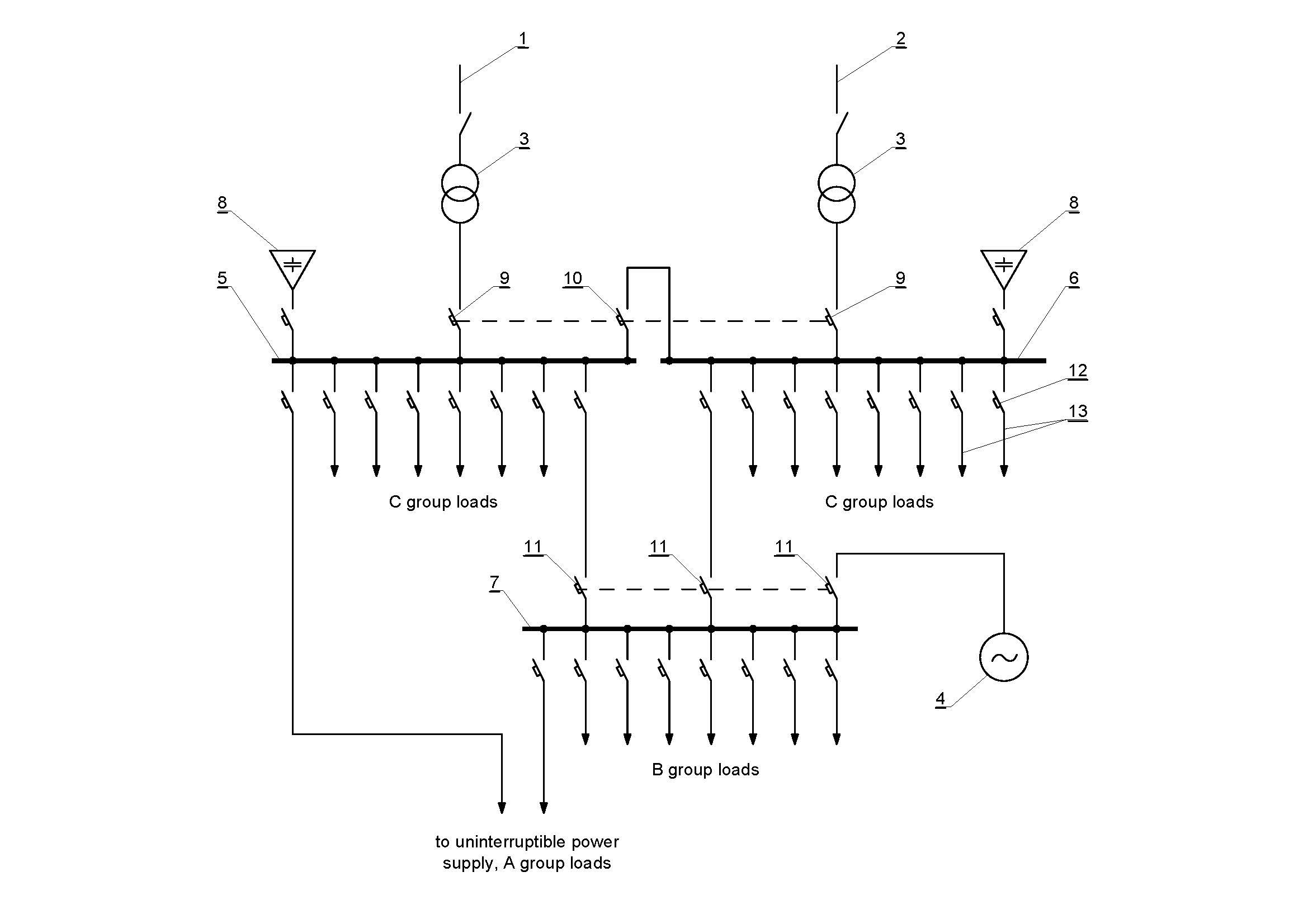
An example of the guaranteed power supply system of a critical facility is shown in figure below:

   

1, 2 are independent power supply sources

3 is a power transformer

4 is a diesel generator unit

5, 6,7 are sections of buses

8 is a power-factor correction unit

9 is an automatic input breaker of an independent source

10 is an automatic bus section breaker

11 is an automatic input breaker of the bus section of the guaranteed power supply system

12 is an automatic distribution switch

13 is outgoing lines

 

Load types:

  • A – information and calculation systems, telecommunication systems, voice alarm and dial telephone office, security and fire alarm systems, monitoring and control system, video surveillance system, emergency and security lighting and dispatching control system. Electrical power supply interruption is not allowed
  • B – fire pumps, air-supply and smoke removal system, process premises conditioning system, refrigerating chambers in the canteen, signal lights. Electrical power supply interruption is allowed for the time of a standby power source actuation.

  • C – other process and utility systems not included in groups A and B. Electrical power supply interruption is allowed for the time of the accident response.

One of the main characteristics of the guaranteed power supply system is its autonomous operation. In an uninterruptible power supply system the time of autonomous operation is determined by the accumulator battery capacity and in a guaranteed power supply system it is determined by the volume of diesel fuel. The volume of diesel fuel is determined by the volume of a standard container located in the frame and the volume of additional containers. When it is not possible to locate additional containers, the project shall foresee additional delivery of fuel and refueling.

 

Possible package of the diesel generator set comprises:

  • industrial diesel engine

  • turbo-blower for engines with a turbocharger

  • brushless alternative current generator with a self-excitation and self-regulation in a protective casing

  • common frame for the engine and generator

  • fuel tank

  • diesel generator cooling system, heater and ventilator

  • output protective circuit breaker

  • control panel

  • lubrication and fuel delivery system

  • interface module for the engine

  • electrical equipment, starter accumulator battery, charger and electrical starter

  • diesel generator emergency shutdown system

  • automatic regulators of voltage and frequency

  • commercial dumper

  • loading device

  • noise protective case

  • battery charger

  • autonomous starting preheater

  • tractor trailer

An automatic load transfer unit is designed for switching of power supply sources supplying the load when the supply is disconnected at one terminal. An automatic load transfer unit is made with application of programmable controllers enabling to provide the following logic and functions:

  • The operation of the automatic load transfer unit is allowed only in case there is voltage at all phases at another terminal.

  • One-time operation of the automatic load transfer unit is allowed

  • The automatic load transfer unit operation is not allowed in case of an emergency disconnection of the main or bus section switch.

  • Possibility of multiple time actuation of the automatic load transfer unit in case of a short-circuit at any one-time failure in the circuit is eliminated.

  • Operation of the automatic load transfer unit is blocked in case automatic switches in a voltage control relay circuits are disconnected.

  • There is an alarm in the manual mode of the automatic load transfer unit and an alarm of the automatic load transfer unit actuation.

Below is a simple scheme of the automatic load transfer unit

 

Specialists of ST Solution LLC have an experience in designing, mounting and delivery of complex systems of guaranteed and uninterruptible power supply.



Our solutionsMore projects

Jaguar-Land Rover Car Dealership
Object area:40 000 m2
Grain terminal with a cargo turnover of 2.5 million tons per year in the port of Novorossiysk
Location:South
Magnit shopping and administrative complexes in the cities of Ulyanovsk, Yaroslavl, Elista, Voskresensk, Kineshma, Shuya, Aleksin
Location:Northwest
Object area:15 000 м2
Сar dealership center BMW-Volkswagen
Location:Centre
Object area:41 300 m2
Residental, Moscow region
Location:Centre
Object area:11 000 m2
Heineken beer factory
Location:Centre
MARS factory
Location:Volga region
Sodium Hypochlorite Plant
Location:Centre
Object area:120 000 m2
Merсedes-Benz Car Dealership renovation
Location:Centre
Object area:10 000 m2
Request a call back
Fill out the feedback form,
our managers will definitely contact you.
By clicking "Send", you consent to the processing of personal data.
Send
Request a call back
Fill out the feedback form,
our managers will definitely contact you.
By clicking "Send", you consent to the processing of personal data.
Send
Order project appraisal
Fill out the feedback form,
our managers will definitely contact you.
By clicking "Send", you consent to the processing of personal data.
Send
Order a project
Fill out the feedback form,
our managers will definitely contact you.
By clicking "Send", you consent to the processing of personal data.
Send
To get a consultation
Fill out the feedback form,
our managers will definitely contact you.
By clicking "Send", you consent to the processing of personal data.
Send
Submitting successful!
Thank you for contacting us! Our manager will contact you in the next working hours
Sending failed
An error occurred while sending the request. Please wait and try again after a while or call my phone number